100.drc
功能概述
指令飞行功能的开放目的是解决无人机与机场在远程控制过程中,无法即时性操作的限制。在实际应用场景中,飞行器可以从空闲状态响应或暂停正在执行的航线任务。开发者通过手动方式继续控制设备或负载。通过指令飞行功能,开发者可以获得安全可靠的飞行器控制、高实时性的指令下发与直播画面传输、osd 信息上报以及对负载的控制能力。
指令飞行 API 可以划分为:飞行控制类(DRC)、负载控制类、flyto 指令与一键起飞指令。
飞行控制类指令(DRC)
DRC(drone remote control)使用 MQTT 协议,并新增两个 Topic 表示上行与下行。MQTT Topic 定义中对新增 drc Topic 结构体提供了介绍与示例。云端与设备成功建立 MQTT 连接以后,将分配一个 EMQX Broker 专门用于云端到设备端的 DRC 通信链路,使得传输与响应更快。DRC 指令需要提前开启指令飞行控制模式才能使用。DRC 指令一般不受飞行控制权的限制,但
DRC-飞行控制 Method: drone_control的使用必须有飞行控制权。
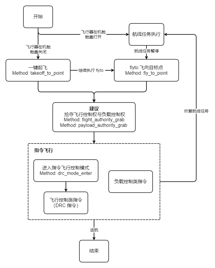
图. DRC 链路

负载控制类指令:负载控制类指令都需要负载控制权。当前负载控制类指令控制相机与云台的动作,实现相机的拍照录像、相机变焦、云台重置等负载操作,从而获取目标的信息。
flyto 指令与一键起飞指令:flyto 指令与一键起飞都用于让飞行器飞向目标点并悬停,区别在于前者用于飞行器在空中的场景,后者用于飞行器在机场内的场景。通过一键起飞指令飞到目标点后,飞行器后续可以继续执行 flyto 指令。当前仅支持单目标点。
模拟器调试
指令飞行新增支持模拟飞行。一旦使能模拟器,飞行器将正常执行飞行任务的准备工作,如机场开舱、启动等动作。飞行器将以模拟器字段中给定的经纬度作为起始点数据,执行航线任务,但飞行器不会实际起飞。飞行器执行任务期间的飞行器数据,将正常通过 osd 上报。
注意: 模拟器执行飞行任务不会使能 RTK。经过模拟器调试后,若要继续开展室外航线任务,需要确保获取到稳定的 RTK 信号以正常执行飞行任务。
指令飞行 2.0
CloudAPI V1.7 迭代了指令飞行 2.0,提供更安全、更智能的飞行行为。
针对一键起飞协议(Method:takeoff_to_point),字段 “安全起飞高度 -- security_takeoff_height” 与字段 “指点飞行高度 -- commander_flight_height”,哪个字段中设定的高度数值更高,飞行器将爬升至该高度。
针对 flyto 协议(Method:fly_to_point),飞行器将爬升到设定的指点飞行高度,开发者可以通过对飞行器物模型中的可读可写字段 “指点飞行高度——commander_flight_height” 设置以调整指点飞行高度,该高度是全局生效的。
指令飞行 2.0可以兼容指令飞行 1.0。若使用指令飞行 2.0 配套固件,但发送了指令飞行 1.0 的协议内容:
针对一键起飞协议(Method:takeoff_to_point),字段 “指点飞行高度 -- commander_flight_height” 将被设置为 2 m。
针对 flyto 协议(Method:fly_to_point),飞行器将使用字段 “指点飞行高度 -- commander_flight_height” 的默认值最小值(2m)作为指点飞行高度。
交互时序图
注意: 建议在下发指令飞行 API 前执行飞行控制权抢夺与负载控制权抢夺,以防多方同时对飞行器发送指令导致飞行器故障。

接口详细说明
说明: 必须是飞行器在空中时,通过负载控制指令拍摄的媒体文件才会被媒体管理功能上传。
飞行控制类指令(DRC 指令)
负载控制类指令
flyto 指令
一键起飞指令
Last updated